-
- Tổng tiền thanh toán:

VÌ SAO PHẢI QUAN TÂM ĐẾN KÍCH THƯỚC BÀN GHẾ CHO CON ?
Tác giả: Admin vadoto Ngày đăng: 04/11/2021
Bàn ghế là dụng cụ đặc biệt quan trọng trong các lớp học. Mặc dù nó không phải là thứ tạo nên điểm nhấn mang tính đẹp mắt, thu hút ánh nhìn, nhưng nó liên quan mật thiết đến các vấn đề về sức khỏe của trẻ như cong vẹo cột sống, cận thị.
Ngoài ra, vấn đề chưa được thống kê chính xác nhưng là yếu tố quyết định chất lượng việc học của trẻ - đó là là sự tập trung. Không có tư thế thoải mái, không thể tập trung được, dẫn đến mất rất nhiều thời gian học nhưng cũng không đạt hiệu quả tối đa. Vì thế, các bộ tiêu chuẩn về kích thước thiết kế sản phẩm dành cho giáo dục luôn là điều phải tuân thủ nghiêm ngặt.
Không khó để có cho con 1 bộ bàn ghế đẹp, với nhiều chủng loại và màu sắc bắt mắt. Nhưng những hệ lụy nghiêm trọng mà những bộ bàn ghế đó có thể gây ra cho con thì có lẽ phải đến khi nó có những tác hại rõ ràng thì các bậc phụ huynh mới nhận ra. Vì thế, hãy trang bị kiến thức cho mình thật kỹ trước khi đưa ra quyết định tưởng chừng đơn giản mà đặc biệt quan trọng này.
Vadoto luôn căn cứ vào các tiêu chuẩn ngành để thiết kế, sản xuất và thi công các hạng mục cho trường học. Và trong bài viết này, chúng tôi muốn gửi tới các bạn 1 phần trong bộ TCVN 7490-2005 do Ban Kỹ thuật Tiêu chuẩn TCVN / TC 159 “Egonomi” biên soạn trên cơ sở dự thảo đề nghị của VIện Y Học lao động và Vệ sinh môi trường – Bộ Y Tế, Tổng cục Tiêu chuẩn Đo lường Chất lượng xét duyệt, Bộ Khoa học và Công nghệ ban hành: NGUYÊN TẮC THIẾT KẾ BÀN GHẾ HỌC SINH
Nguyên tắc chung: Chia học sinh thành từng nhóm chiều cao, trên cơ sở đó, thiết kế kích thước chiều cao, chiều sâu, chiều rộng của bàn và ghế sao cho tỷ lệ học sinh trong từng nhóm chiều cao phù hợp với kích thước bàn ghế đạt tối đa.
Bảng phân loại cỡ số và mã số bàn ghế theo nhóm chiều cao học sinh:
|
Cỡ số |
Mã số |
Chiều cao theo nhóm học sinh (cm) |
Sử dụng cho lớp |
|
I |
I / 100 – 109 |
Từ 100 đến 109 |
1 |
|
II |
II / 110 – 119 |
Từ 110 đến 119 |
1 – 2 – 3 |
|
III |
III / 120 – 129 |
Từ 120 đến 129 |
1 – 2 - 3 |
|
IV |
IV / 130 – 144 |
Từ 130 đến 144 |
4 – 5 – 6 |
|
V |
V / 145 – 159 |
Từ 145 đến 159 |
7 – 8 – 9 |
|
VI |
VI / 160 - 175 |
Từ 160 đến 175 |
8 - 9 |
Căn cứ vào phân loại dựa trên nhóm chiều cao học sinh, Tiêu chuẩn Việt Nam 7490 – 2005 đã đưa ra bảng kích thước cơ bản của bàn ghế học sinh như sau:
|
Thông số |
Cỡ số |
|||||
|
I |
II |
III |
IV |
V |
VI |
|
|
Chiều cao ghế, H2, cm |
26 |
28 |
30 |
34 |
37 |
41 |
|
Chiều sâu ghế, B2, cm |
26 |
27 |
29 |
33 |
36 |
40 |
|
Chiều rộng ghế, D2, cm |
23 |
25 |
27 |
31 |
34 |
36 |
|
Chiều cao bàn, H1, cm |
45 |
48 |
51 |
57 |
63 |
69 |
|
Hiệu số chiều cao bàn ghế, H4, cm |
19 |
20 |
21 |
23 |
26 |
28 |
|
Chiều sâu bàn, B1, cm |
45 |
45 |
45 |
50 |
50 |
50 |
|
Chiều rộng bàn:
|
60 |
60 |
60 |
60 |
60 |
60 |
|
120 |
120 |
120 |
120 |
120 |
120 |

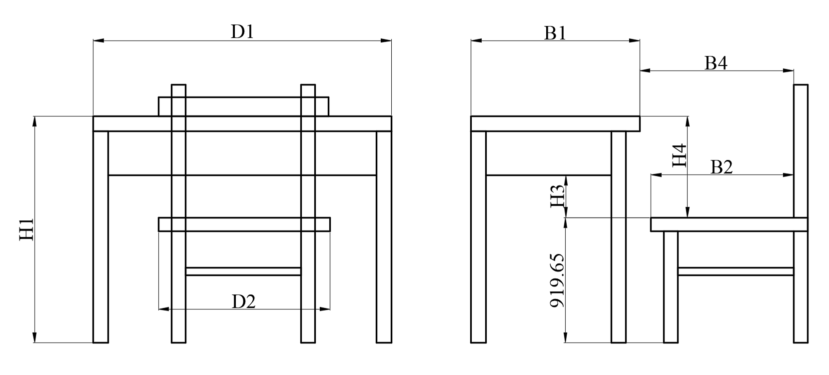
Trong đó:
- Chiều cao ghế H2
- Chiều rộng ghế D2
- Chiều sâu ghế B2
- Hiệu số chiều cao bàn ghế H4
- Chiều cao bàn H1
- Khoảng trống giữa bàn và ghế H3
- Chiều rộng bàn D1
- Chiều sâu bàn B1
Sai số cho phép của các kích thước là ±0,5cm.
Trên đây là những tiêu chuẩn do Bộ Khoa học và Công nghệ ban hành. Các bạn có thể download đầy đủ tài liệu theo đường link đính kèm ở dưới. Đó là những căn cứ chính xác nhất để chọn lựa những bộ bàn ghế cho trường học và cho các con học ở nhà.
Các bạn có thể chọn mua những bộ bàn ghế đạt chuẩn chất lượng do Vadoto sản xuất và cung ứng ở các nhà sách trong cả nước. Hoặc đặt mua trực tiếp tại website của chúng tôi. Hãy chọn những mẫu mà con thích và để lại lời nhắn, chúng tôi sẽ liên hệ lại ngay để hỗ trợ bạn đặt hàng !
Hotline: 0961843388